基于AT89C52的汽车防护系统集成设计与应用 -
[导读]0 引言
在国际金融危机的背景下,尤其在竞争异常激烈的汽车工业领域,提高我国汽车电子产品的技术和降低产品的价格,对降低整车成本显得十分重要。汽车防护系统的集成化是一股势不可挡的趋势。采用系统性能可靠
0 引言
在国际金融危机的背景下,尤其在竞争异常激烈的汽车工业领域,提高我国汽车电子产品的技术和降低产品的价格,对降低整车成本显得十分重要。汽车防护系统的集成化是一股势不可挡的趋势。采用系统性能可靠、成本较低、软件设计灵活简单、硬件接口功能丰富、扩展性好、通用性强的AT89C52单片机开发了键盘、液晶显示器、多路震动的采集等,将汽车倒车安全距离提醒、汽车无线遥控防盗报警、汽车电源锁加密、汽车行车监视后方车辆距离等诸多汽车防护系统结合在一起,对驾驶环境实施全面监控,集中比较、分析多方面的数据,这样集成的主、被动系统能实现更强的安全性能,最大程度地保护车辆、乘员乃至行人的安全,其价值远远超过了各自独立、互不相干的防护系统。
本文引用地址: http://www.21ic.com/app/auto/200909/47416.htm
1 汽车防护系统功能与设计要求
1.1 汽车防护系统设计要求
设计一个汽车防护系统,在行车时,可以监视后方车辆的车距状态;倒车时,可以有倒车安全距离的提醒;离开车辆时,可以有电源锁加密以及无线遥控防盗报警双重保护功能。
1.2 汽车防护系统设计的性能指标
(1)测量距离:所有的测量范围在10 m以内;
(2)测量精度:倒车安全距离在1 cm以内;行车测距在0.1 m以内;
(3)用7段数码显示管显示倒车安全距离设定值,以及显示行车测距时测距变化值;
(4)控制面板由4×4键盘组成,每一项功能操作都有指示灯或7段数码显示管提示。
1.3 汽车防护系统总体规划
图1汽车防护系统框架图

2 汽车防护集成系统关键硬件优化与设计
2.1 距离测量的设计
红外线的传播速度较快,对传播时间的计算要求比较高。由于在本设计中的测量距离只在10m以内。因此,距离的测量选用超声波测量技术即可满足设计的要求,如图2、图3所示。

2.2 语音提醒的设计
语音提醒是由HFC5212语音芯片组成,工作电压在3~6V,语言集成电路 HFC5212,它内存有“嘟嘟,请注意”的语言信号,采用电平、不保持触发方式。它的最高工作电压不高于5V,为此,电路中由单片机I/O口提供5V的电压。R8为其振荡电阻,改变它的阻值大小,可改变语音的音调。HFC5212的触发端为II脚接在单片机I/O口上,这样一来,一旦单片机输出高电位,即迅速被触发而发声,如果单片机一直输出高电位,HFC5212一直被触发发声。它输出的语音信号经Q1放大,驱动喇叭发出“嘟嘟,请注意”的提醒语音,从而提高防范意识。倒车语音提醒电路如图4所示。

2.3 震动传感模块设计
震动传感器采用Z02B高灵敏度的震动传感模块,Z02B工作电压为DC 2.6 6 V(典型应用3 V,极限12 V),由于该模块输出幅度为模块端电压,可以达到数字模块的触发电压,所以使用时通过与非门和单片机I/O口相连。该震动传感器模块测试时,模块输出能力可直接驱动一支LED发光管,通过发光管即可观察到模块输出状态,而不能用万用表来测试是否有输出。安装时需将模块铜面与物体紧贴,该传感器的灵敏度极高,能检测极其微弱的震动波;抗冲击强度高,能承受同类传感器不能承受的强烈振动工作条件;防水性能好,能适应湿度较大的工作环境。因此,Z02B非常适合用于汽车防盗的震动信号采集,安装在汽车门窗、后车箱盖等一些震动敏感的地方。震动传感电路如图5所示。
2.4 防盗报警模块设计
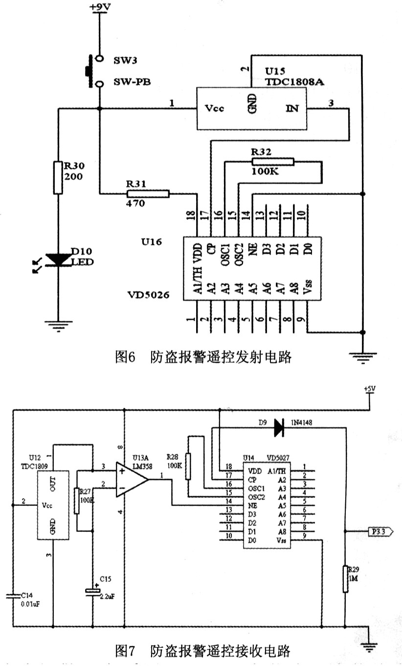
防盗报警发射与接收采用的TDC1808/TDC1809是无线遥控发射与接收组件,它们采用内置天线,可传送数字信号或模拟信号,适用于各种无线遥控装置,具有体积小、遥控距离远、抗干扰能力强等特点。编码与解码采用 VD5026/VD5027专用编码器和解码器。防盗报警发射与接收电路如图6、图7所示。

防盗报警语音采用KD9561语音芯片,该芯片内储存了四种语音功能,对其功能引脚的不同接法,就会令其发出不同的语音。在本设计中,选用的是警车的语音报警。另外,采用的LM386芯片是为了对语音进行放大,LM386做成的小功率集成功放电路,对信号输出功率进行放大来驱动扬声器。防盗报警语音电路如图8所示。

3.软件程序的分析及设计
3.1 超声波距离测量的算法设计
超声波测距的原理是,超声波发生器T发出的一个超声波信号,当其遇到被测物体后反射回来,就被超声波接收器R所接收。这样只要计算出发出信号到接收返回信号所用的时间,就可算出超声波发生器与反射物体的距离。
距离计算公式:s=d/2=(v×t)/2。s为被测物与测距器的距离,d为超声波的往返路程,v为声速,t为超声波往返所用的时间。
超声波的频率为40kHz,机械波,通过计算,可算出超声波的周期。超声波的周期为:
T=1/(40×1000)s=0.000025s=0.025ms
在AT89C52单片机中,当选择定时器T0,工作方式2定时,可自动重装时间值,则定时的时间常数初值x=256-t(fosc/12),t为定时的时间,单位是μ s;fosc是系统使用的晶振频率。
T0初始化赋值:

(由于1 2.5四舍五入,取值1 3,则实际频率只有38.462 kHz)
3.2 电源锁软件加密设计
在PC机中,软件的加密通常都是往数据里添加某种算法,这对于运算功能强大的PC 机来说绰绰有余的。但对于单片机而言,过于复杂的算法会大大降低单片机的速度和占用大量的存储空间,因此,在本设计中,电源锁加密采用一种数据比较的方法。采用C语言定义两个全局变量的数组,相当于在内存中开辟两个特定的数据空间,一个用来储存密码,一个用来储存用户输入的密码,然后通过数据的比较来验证密码,这样可以大大提高运算速度和减少存储空间的占用。密码比较储存与设置的原理图如图9所示。

3.3 按键提示音的设计
按键的提示音通过单片机输出一定频率的信号来驱动蜂鸣器,从而使蜂鸣器发音。其发音的频率参考表1。

本系统采用的按建提示音为中音频率“Do”音,频率为523Hz,则其周期为:
T=1/f=1/523Hz=1912 μ s
因为要使蜂鸣器发音,只需在半个周期内改变其信号的状态即可,所以实际给蜂鸣器送电的时间只有T'=T/2=956 μs。
3.4 程序流程图
采用AT89C52实现汽车倒车安全距离提醒、汽车无线遥控防盗报警、汽车电源锁加密、汽车行车监视后方车辆距离四大功能程序主要分为主程序模块、密码锁程序模块、倒车设置程序模块、行车测距程序模块和设置密码程序模块。用C语言进行单片机程序设计,采用结构化程序设计思想:在总体设计中采用“自项而下”(TOP-DOWN)的方法,在程序设计中采用模块化编程。具体的编程根据以下的程序流程图:
4 结论
本集成系统应用于吉利牌金刚JL7152U CX MT型改装实验车上得到以下实验数据:

由以上实验数据分析可得出以下结论:
(1)此系统对驾驶环境实施全面监控,AT89C52单片机能集中比较、分析多方面的数据,从而实现主、被动安全系统的高度整合。
(2)系统核中程序的设计具有很好的“亲和性”,可以随驾驶环境的不同修改其参数,在250次全方位功能检测中系统的可靠性达到99%,且研制此系统用的元件价格低廉,因此系统有很高的性价比。
(3)通过AT89C52单片机接口与存储器扩展,系统有很好的可扩展性。
查看评论 回复
"基于AT89C52的汽车防护系统集成设计与应用 -"的相关文章
- 上一篇:基于汽车环境的带隙基准电压源的设计 -
- 下一篇:汽车应用中高亮度LED驱动电路 -









