I/Q调制器ADL5375与AD9779A实现接口 - 接口 -
电路类型: 调制器
优化目标: 高性能, 高速度
应用: 通信
电路功能与优势
本文所述电路可以在I/Q调制器 ADL5375 与高速DAC AD9779A 之间提供一种简单有效的接口。由于ADL5375与AD9779A具有相同的偏置电平和相似的高信噪比(SNR),因而二者可实现良好匹配。利用匹配的500 mV偏置电平,可实现“无缝”接口,且无需使用电平转换网络,相应地也不会因增添元件而增加噪声和插入损耗。加入限幅电阻(RSLI、RSLQ)可以适当调整DAC摆幅,同时分辨率或0.5 V偏置电平则不受影响。各器件的高信噪比使整个电路保持高信噪比。
I/Q调制器ADL5375与双通道、1 GSPS高速DAC AD9779A实现接口 (CN0021)

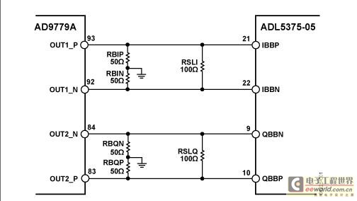
图1:AD9779A与ADL5375之间的接口,利用50 Ω接地电阻为ADL5375-05基带输入提供500 mV直流偏置电压(原理示意图)
电路描述
ADL5375用于以最少的元件与ADI公司TxDAC系列转换器(AD97xx)实现接口,其基带输入要求采用500 mV的直流共模偏置电压。AD9779A每路输出的摆幅为0 mA至20 mA,因此在各DAC输出处配置一个50 接地电阻,便可提供所需的500 mV直流偏置电压。仅配置四个50 电阻时,每个引脚上的电压摆幅为1 V峰峰值,这使得每个输入对上的差分电压摆幅为2 V峰峰值。
在接口中增加电阻RSLI和RSLQ之后,可以减小DAC的输出摆幅,而DAC分辨率则不受影响。如图1所示,该电阻配置在差分对两侧之间,用作分流电阻,具有减小交流摆幅的作用,但不会改变已由50 电阻确立的直流偏置电压。
该交流限幅电阻值根据所需的交流电压摆幅来选择。图2所示为使用50 偏置设置电阻时,限幅电阻与其产生的峰峰值交流摆幅之间的关系。请注意,ADI公司的所有I/Q调制器均在其基带输入上提供相对较高的输入阻抗(通常大于1 k)。因此,I/Q调制器的输入阻抗将不会影响DAC输出信号的量程。
I/Q调制器ADL5375与双通道、1 GSPS高速DAC AD9779A实现接口 (CN0021)

图2:使用50 偏置设置电阻时,交流限幅电阻与峰峰值电压摆幅之间的关系
驱动调制器时,一般需要用低通滤波器对DAC输出进行滤波,以便消除镜像频率。以上接口非常适合接入这种滤波器。低通滤波器可以插入在直流偏置设置电阻与交流限幅电阻之间,这样可确定滤波器的输入与输出阻抗。
查看评论 回复









