Atmel ATA6843 汽车BLDC马达驱动解决方案 -
[导读]Atmel公司的 ATA6843和ATA6844是三相无刷直流马达( BLDC)控制器,集成了微控制器和六个分立的功率MOSFET,并提供3.3V/5V线性稳压器和窗口看门狗,为汽车应用提供了完整的BLDC马达控制单员。工作电压5.25V到32V,工
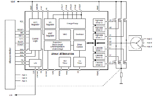
Atmel公司的 ATA6843和ATA6844是三相无刷直流马达( BLDC)控制器,集成了微控制器和六个分立的功率MOSFET,并提供3.3V/5V线性稳压器和窗口看门狗,为汽车应用提供了完整的BLDC马达控制单员。工作电压5.25V到32V,工作结温150度C,能以最大开关频率50kHz直接驱动6个外接NMOS晶体管。本文介绍了ATA6843和ATA6844主要特性,方框图和典型应用电路及所用外接元件列表。
本文引用地址: http://www.21ic.com/app/auto/201204/114805.htm
BLDC Motor Driver and LIN System Basis Chip
The Atmel® ATA6843 and Atmel ATA6844 are system basis chips for three-phase brushless DC motor controllers designed in Atmel’s state-of-the-art 0.8μm SOI technology SMART-I.S.™1. In combination with a microcontroller and six discrete power MOSFETs, the system basis chip forms a BLDC motor control unit for automotive applications. In addition, the circuits provide a 3.3V/5V linear regulator and a window watchdog.
The circuit includes various control and protection functions like overvoltage and overtemperature protection, short circuit detection, and undervoltage management. Thanks to these function blocks, the driver fulfils a maximum of safety requirements and offers a high integration level to save cost and space in various applications. The target applications are most suitable for the automotive market due to the robust technology and the high qualification level. Atmel ATA6844, in particular, is designed for applications in a high-temperature environment.
ATA6843和ATA6844主要特性:
• Broad Operation Voltage Range from 5.25V to 32V
• Atmel ATA6843 Temperature Range TJ = 150℃
• Atmel ATA6844 Extended Temperature Range TJ = 200℃
• Direct Driving of 6 External NMOS Transistors with a Maximum Switching Frequency of 50kHz
• Integrated Charge Pump to Provide Gate Voltages for High-side Drivers and to Supply the Gate of the External Battery Reverse Protection NMOS
• Built-in 5V/3.3V Voltage Regulator with Current Limitation
• Reset Signal for the Microcontroller
• Sleep Mode with Supply Current of typically < 45μA
• Wake-up via LIN Bus or High Voltage Input
• Programmable Window Watchdog
• Battery Overvoltage Protection and Battery Undervoltage Management
• Overtemperature Warning and Protection (Shutdown)
• Jump Start Compatible
• 200mA Peak Current for Each Output Driver
• LIN Transceiver Conformal to LIN 2.1 and SAEJ2602-2 with Outstanding EMC and ESD Performance
• QFN48 Package 7mmx7mm

图1。ATA6843和ATA6844方框图

图2。ATA6843和ATA6844典型应用电路图

应用电路中外接元件表
查看评论 回复









