STM32基于官方库函数的时钟配置 -
[导读]stm32可选的时钟源在STM32中,可以用内部时钟,也可以用外部时钟,在要求进度高的应用场合最好用外部晶体震荡器,内部时钟存在一定的精度误差。准确的来说有4个时钟源可以选分别是HSI、LSI、HSE、LSE(即内部高速,内
STM32可选的时钟源
本文引用地址: http://www.21ic.com/app/mcu/201807/779032.htm
在STM32中,可以用内部时钟,也可以用外部时钟,在要求进度高的应用场合最好用外部晶体震荡器,内部时钟存在一定的精度误差。
准确的来说有4个时钟源可以选分别是HSI、LSI、HSE、LSE(即内部高速,内部低速,外部高速,外部低速),高速时钟主要用于系统内核和总线上的外设时钟。低速时钟主要用于独立看门狗IWDG、实时时钟RTC。
①、HSI是高速内部时钟,RC振荡器,频率为8MHz,上电后默认的系统时时钟 SYSCLK = 8MHz,Flash编程时钟。
①、HSE是高速外部时钟,可接石英/陶瓷谐振器,或者接外部时钟源,频率范围为4MHz~16MHz。
③、LSI是低速内部时钟,RC振荡器,频率为40kHz,可用于独立看门狗IWDG、实时时钟RTC。
④、LSE是低速外部时钟,接频率为32.768kHz的石英晶体。
系统时钟SYSCLK输入
这里重点在高速时钟,因为大部分外设时钟都是用的高速时钟。系统内核和外设时钟的时钟只有一个源,那就是SYSCLK,即常说的系统时钟,他是有一个选择器SW来做选择的,有3种选择HSI、HSE和PLL,上电后默认选择内部HSI, HSI虽然存在精度误差,但是能保证不会挂。这点比AVR单片机做的好一些,AVR单片机时钟一旦配置成外部的,如果外部时钟正常那时无法下载程序的。PLL为锁相环倍频输出,PLL时钟输入源可选择为HSI/2、HSE或者HSE/2。倍频可选择为2~16倍,其输出频率最大不得超过72MHz, 也有网有超频工作的,但不提倡。
也就是说系统时钟SYSCLK最终有以下几种选择:
①、SYSCLK = HSI
①、SYSCLK = HSE
③、SYSCLK = PLL

关于PLL锁相环倍频(输入和输出):
将输入时钟乘以一个系数后输出时钟,可以百度PLL原理。
PLL的输入3种选择:
①、PLLi =HSI /2
①、PLLi =HSE /2
③、PLLi =HSE
PLL的输出有15种选择: PLLout = PLLi Xn (n = 2…16)

关于USB时钟
STM32中有一个全速功能的USB模块,其串行接口引擎需要一个频率为48MHz的时钟源。该时钟源只能从PLL输出端获取(唯一的),,可以选择为1.5分频或者1分频,也就是,当需要使用USB模块时,PLL必须使能,并且时钟频率配置为48MHz或72MHz。

关于把时钟信号输出到外部
另外,STM32还可以选择一个时钟信号输出到MCO脚(PA8)上,可以选择为PLL输出的2分频、HSI、HSE、或者系统时钟。

关于系统时钟SYSCLK分配
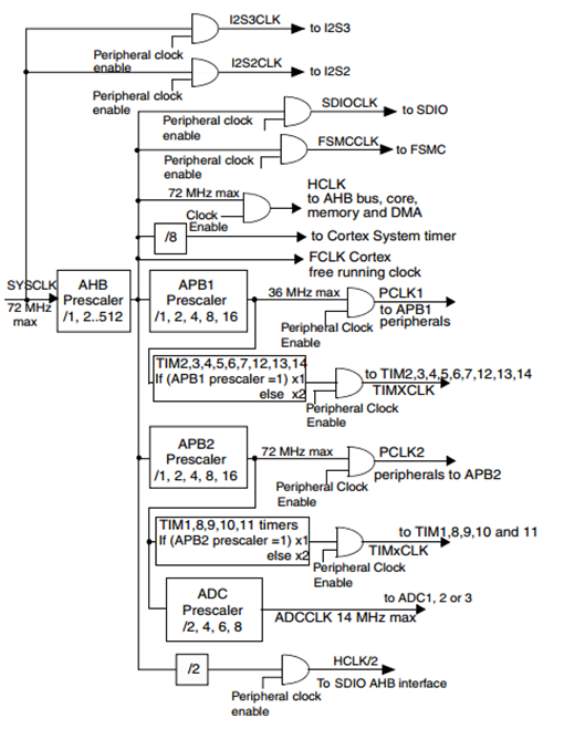
系统时钟SYSCLK,它是供STM32中绝大部分部件工作的时钟源。系统时钟可选择为PLL输出、HSI(8MHz)或者HSE(外部晶振)。系统时钟最大频率为72MHz,供给I2S音频总线和AHB总线时钟。

它通过AHB分频器分频后送给各模块使用,AHB分频器可选择1、2、4、8、16、64、128、256、512分频。其中AHB分频器输出的时钟送给5大模块使用:
①、内核总线:送给AHB总线、内核、内存和DMA使用的HCLK时钟。
②、Tick定时器:通过8分频后送给Cortex的系统定时器时钟。
③、I2S总线:直接送给Cortex的空闲运行时钟FCLK。
④、APB1外设:送给APB1分频器。APB1分频器可选择1、2、4、8、16分频,其输出一路供APB1外设使用(PCLK1,最大频率36MHz),另一路送给定时器(Timer)2、3、4倍频器使用。该倍频器可选择1或者2倍频,时钟输出供定时器2、3、4使用。
⑤、APB2外设:送给APB2分频器。APB2分频器可选择1、2、4、8、16分频,其输出一路供APB2外设使用(PCLK2,最大频率72MHz),另一路送给定时器(Timer)1倍频器使用。该倍频器可选择1或者2倍频,时钟输出供定时器1使用。另外,APB2分频器还有一路输出供ADC分频器使用,分频后送给ADC模块使用。ADC分频器可选择为2、4、6、8分频。
在以上的时钟输出中,有很多是带使能控制的,例如AHB总线时钟、内核时钟、各种APB1外设、APB2外设等等。当需要使用某模块时,记得一定要先使能对应的时钟。
需要注意的是定时器的倍频器,当APB的分频为1时,它的倍频值为1,否则它的倍频值就为2。
连接在APB1(低速外设)上的设备有:电源接口、备份接口、CAN、USB、I2C1、I2C2、UART2、UART3、SPI2、窗口看门狗、Timer2、Timer3、Timer4。注意USB模块虽然需要一个单独的48MHz时钟信号,但它应该不是供USB模块工作的时钟,而只是提供给串行接口引擎(SIE)使用的时钟。USB模块工作的时钟应该是由APB1提供的。
连接在APB2(高速外设)上的设备有:UART1、SPI1、Timer1、ADC1、ADC2、所有普通IO口(PA~PE)、第二功能IO口。
对于单片机系统来说,CPU和总线以及外设的时钟设置是非常重要的,因为没有时钟就没有时序。
由于时钟是一个由内而外的东西,具体设置要从寄存器开始。
RCC 寄存器结构,RCC_TypeDeff,在文件“stm32f10x.h”中定义如下: (v3.4库)
1059行->1081行。
typedef struct
{
__IO uint32_t CR;
__IO uint32_t CFGR;
__IO uint32_t CIR;
__IO uint32_t APB2RSTR;
__IO uint32_t APB1RSTR;
__IO uint32_t AHBENR;
__IO uint32_t APB2ENR;
__IO uint32_t APB1ENR;
__IO uint32_t BDCR;
__IO uint32_t CSR;
#ifdef STM32F10X_CL
__IO uint32_t AHBRSTR;
__IO uint32_t CFGR2;
#endif
#if defined (STM32F10X_LD_VL) || defined (STM32F10X_MD_VL) || defined (STM32F10X_HD_VL)
uint32_t RESERVED0;
__IO uint32_t CFGR2;
#endif
} RCC_TypeDef;
一般板子上只有8Mhz的晶振,而增强型最高工作频率为72Mhz,显然需要用PLL倍频9倍,这些设置都需要在初始化阶段完成。
使用外部高速HSE时钟,程序设置时钟参数流程:
1、将RCC寄存器重新设置为默认值RCC_DeInit;
2、打开外部高速时钟晶振HSERCC_HSEConfig(RCC_HSE_ON);
3、等待外部高速时钟晶振工作HSEStartUpStatus = RCC_WaitForHSEStartUp();
4、设置AHB时钟RCC_HCLKConfig;
5、设置高速AHB时钟RCC_PCLK2Config;
6、设置低速速AHB时钟RCC_PCLK1Config;
7、设置PLLRCC_PLLConfig;
8、打开PLLRCC_PLLCmd(ENABLE);
9、等待PLL工作while(RCC_GetFlagStatus(RCC_FLAG_PLLRDY) == RESET)
10、设置系统时钟RCC_SYSCLKConfig;
11、判断是否PLL是系统时钟while(RCC_GetSYSCLKSource() != 0x08)
12、打开要使用的外设时钟RCC_APB2PeriphClockCmd()/RCC_APB1PeriphClockCmd()
为了方便说明,借用一下例程的RCC设置函数,并用中文注释的形式加以说明:
static void RCC_Config(void)
{
RCC_DeInit();
RCC_HSEConfig(RCC_HSE_ON);
HSEStartUpStatus = RCC_WaitForHSEStartUp();
if (HSEStartUpStatus == SUCCESS)
{
FLASH_PrefetchBufferCmd(FLASH_PrefetchBuffer_Enable);
FLASH_SetLatency(FLASH_Latency_2);
RCC_HCLKConfig(RCC_SYSCLK_Div1);
RCC_PCLK2Config(RCC_HCLK_Div1);
RCC_PCLK1Config(RCC_HCLK_Div2);
RCC_ADCCLKConfig(RCC_PCLK2_Div6);
//这句很关键
RCC_PLLConfig(RCC_PLLSource_HSE_Div1, RCC_PLLMul_9);
RCC_PLLCmd(ENABLE);
while (RCC_GetFlagStatus(RCC_FLAG_PLLRDY) == RESET) ;
RCC_SYSCLKConfig(RCC_SYSCLKSource_PLLCLK);
while (RCC_GetSYSCLKSource() != 0x08);
}
//使能外围接口总线时钟,注意各外设的隶属情况,不同芯片的分配不同,到时候查手册就可以
RCC_AHBPeriphClockCmd(RCC_AHBPeriph_FSMC, ENABLE);
RCC_APB2PeriphClockCmd(RCC_APB2Periph_GPIOD | RCC_A
查看评论 回复









