基于单片机的简易定时报警器电路设计(含电路图和程序) -
[导读]设计一个单片机控制的简易定时报警器。要求根据设定的初始值(1-59秒)进行倒计时,当计时到0时数码管闪烁“00”(以1Hz闪烁),按键功能如下:
(1)设定键:在倒计时模式时,按下此键后停止倒计时,进入
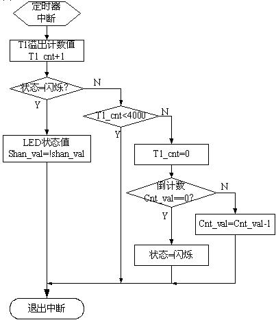
设计一个单片机控制的简易定时报警器。要求根据设定的初始值(1-59秒)进行倒计时,当计时到0时数码管闪烁“00”(以1Hz闪烁),按键功能如下: 本文引用地址: http://www.21ic.com/app/mcu/201209/141043.htm 图3-1 定时报警器电路原理图 图3-2 状态的切换 图3-3 主程序的流程图 中断服务程序流程图 (4)软硬件调试方案 3.1.3 程序设计(仅供参考的C语言源程序)
(1)设定键:在倒计时模式时,按下此键后停止倒计时,进入设置状态;如果已经处于设置状态则此键无效。
(2)增一键:在设置状态时,每按一次递增键,初始值的数字增1。
(3)递一键:在设置状态时,每按一次递减键,初始值的数字减1。
(4)确认键:在设置状态时,按下此键后,单片机按照新的初始值进行倒计时及显示倒计时的数字。如果已经处于计时状态则此键无效。
3.1.2 模块1:系统设计
(1)任务分析与整体设计思路
根据题目的要求,需要实现如下几个方面的功能。
计时功能:要实现计时功能则需要使用定时器来计时,通过设置定时器的初始值来控制溢出中断的时间间隔,再利用一个变量记录定时器溢出的次数,达到定时1秒中的功能。然后,当计时每到1秒钟后,倒计时的计数器减1。当倒计时计数器到0时,触发另一个标志变量,进入闪烁状态。
显示功能:显示倒计时的数字要采用动态扫描的方式将数字拆成“十位”和“个位”动态扫描显示。如果处于闪烁状态,则可以不需要动态扫描显示,只需要控制共阴极数码管的位控线,实现数码管的灭和亮。
键盘扫描和运行模式的切换:主程序在初始化一些变量和寄存器之后,需要不断循环地读取键盘的状态和动态扫描数码管显示相应的数字。根据键盘的按键值实现设置状态、计时状态的切换。
(2)单片机型号及所需外围器件型号,单片机硬件电路原理图
选用MCS-51系列AT89S51单片机作为微控制器,选择两个四联的共阴极数码管组成8位显示模块,由于AT89S51单片机驱动能力有限,采用两片74HC244实现总线的驱动,一个74HC244完成位控线的控制和驱动,另一个74HC244完成数码管的7段码输出,在输出口上各串联一个100欧姆的电阻对7段数码管限流。
由于键盘数量不多,选择独立式按键与P1口连接作为四个按键输入。没有键按下时P1.0-P1.3为高电平,当有键按下时,P1.0-P1.3相应管脚为低电平。电路原理图如图3-1所示。

(3)程序设计思路,单片机资源分配以及程序流程
①单片机资源分配
采用单片机的P3口作为按键的输入,使用独立式按键与P3.0-P3.3连接,构成四个功能按键。
在计时功能中,需要三个变量分别暂存定时器溢出的次数(T1_cnt)、倒计时的初始值(init_val)以及当前倒计时的秒数(cnt_val)。
按键扫描功能中,需要两个变量,一个变量(key_val_new)用来存储当前扫描的键值(若无按键按下则为255),另一个变量(key_val_old)用来存储上一次扫描的键值。只有这两个变量值不一样时,才能说明是一次新的按键按下或弹起了,同时将新的键值赋给key_val_old变量。
在显示功能中,需要定义一组数组(code类型),值为0-9数字对应的数码管7段码。还需要定义一个变量(show_val)暂存要显示的数据,用于动态扫描显示中。
在整个程序中,定义了一个状态变量(state_val)用来存储当前单片机工作在哪种状态。
②程序设计思路
鉴于题目要求,存在三种工作模式:初始值设置模式、倒计时模式、计时到0时的闪烁模式。变量state_val为0时,处于倒计时模式。变量state_val为1时,处于初始值设置模式。变量state_val为2时,处于闪烁模式。这些状态的切换取决于按下哪一个键以及是否计时到0。状态的切换图如图3-2

单片机复位之后,默认处于倒计时模式,启动定时器,定时器每隔250us溢出一次,根据定时器溢出次数来计时,到1秒时将时间的计数器减1。当“设置键”按下时,变量state_val由0变为1,切换到设置模式。可以使用“递增键”“递减键”对计时初始值进行修改。按下“确认键”时,回到计时模式开始以新的初始值进行倒计时。当倒计时到0时,变量state_val由1变为2,处于闪烁状态,在这种状态下,根据按键的情况分别又切换到计时和设置状态。
③程序流程
主程序首先需要初始化定时器的参数和一些变量,然后进入一个循环结构,在循环中始终只做两件事,一是键盘的扫描,二是数码管的动态扫描。
在扫描键盘后,根据前一次按键的结果是否与本次键值相同。如果不同,表示有键按下或弹起,同时用本次按键值更新上一次的按键值。这样设计旨在避免一个按键长时间按下时被重复判为有新键按下,使得当前按下的键只有松开后,下一次按下时才算为一次新的按键。
根据按键的值分别改变变量(state_val)的值或者在设置状态时的倒计时初始值。完整的主程序图如图3-3所示。

在定时器的参数中,选择定时器T1的8位自动装载模式,每250us产生一次溢出中断,中断服务程序如图3-4所示。

软件调试方案:伟福软件中,在“文件新建文件”中,新建C语言源程序文件,编写相应的程序。在“文件新建项目”的菜单中,新建项目并将C语言源程序文件包括在项目文件中。
在 “项目编译”菜单中将C源文件编译,检查语法错误及逻辑错误。在编译成功后,产生以 “*.hex”和“*.bin” 后缀的目标文件。
硬件调试方案:在设计平台中,将单片机的P3.0-P3.3分别与独立式键盘的相应位通过插线连接起来。
在伟福中将程序文件编译成目标文件后,运行MCU下载程序,选择相应的flash 数据文件,点击“编程”按钮,将程序文件下载到单片机的Flash中。
然后,上电重新启动单片机,检查所编写的程序是否达到题目的要求,是否全面完整地完成试题的内容。
//晶振:11.0592M T1-250微秒 按键P10 P11 P12 P13
/*变量的定义:
show_val: 显示的值0-59
init_val: 初始值
state_val: 状态值 0-计数状态;1-设置状态;2-闪烁状态
shan_val:
key_val1: 四个按键的值 255-无键;1-设置键 2-增一键 3-减一键 4-确定键
T1_cnt: 定时器计数溢出数
cnt_val: 倒计时的数值
led_seg_code:数码管7段码
*/
#include "reg51.h" //包含文件
sbit P1_0=P1^0; //设置键
sbit P1_1=P1^1; //增一键
sbit P1_2=P1^2; //减一键
sbit P1_3=P1^3; //确定键
unsigned char data shan_val; //闪烁时LED的开/关状态
unsigned char data cnt_val; //保存倒计数的当前值
unsigned int data T1_cnt; //保存定时器溢出次数
unsigned char data key_val_new,key_val_old;//存放当前扫描的键和前一次按下的键值
unsigned char data state_val; //状态值
unsigned char data show_val; //存放需要在数码管显示的数字
unsigned char data init_val; //暂存倒计数的初始值
char code led_seg_code[10]={0x3f,0x06,0x05b,0x04f,0x66,0x6d,0x7d,0x07,0x7f,0x6f};
//----------延时--------------
void delay(unsigned int i) //大约延时i*2个微秒
{ while(--i);}
//-----------按键扫描-------------
unsigned char scan_key()
{ unsigned char i;
i=P1&0x0f;
delay(100); //延时,去抖动
if (i==(P1&0x0f))
{ if (P1_0==0)
{ i=1; }
else
{ if (P1_1==0)
{ i=2;}
else
{ if (P1_2==0)
{ i=3;}
else
{ if (P1_3==0)
{ i=4;} }
} } }
else
{ i=255; }
return i;
}
//---------数码管显示---------------
void led_show(unsigned int v)
{
unsigned char i;
if (state_val!=2) //动态扫描
{i=v%10; //取要显示的数的个位
P0=led_seg_code[i]; //转换为7段码
P2=0xfe; //显示个位
delay(15); //延时
i=v%100/10; //取十位
P0=led_seg_code[i]; //转换为7段码
P2=0xfd; //显示十位
delay(5); //延时
}
else
{ P0=led_seg_code[0]; //处于闪烁状态
if (shan_val)
{ P2=0xff; } //将数码管的关闭
else
{ P2=0xfc; } //将数码管的打开
}
}
//----------定时器T1中断服务程序---------------
void timer1() interrupt 3 //T1中断,250us中断一次
{ T1_cnt++;
switch (state_val)
{ case 0:
if(T1_cnt>3999) //如果计数>3999, 计时1s
{ T1_cnt=0;
if(cnt_val!=0)
{ cnt_val--;}
else
{state_val=2;} //定时计数到0时,切换状态
show_val=cnt_val;
}
break;
case 2:
if(T1_cnt>1999) //如果计数>1999, 计时0.5s
{ T1_cnt=0; shan_val=!shan_val; } //闪烁状态
break;
}
}
//---------主程序----------------
main()
{init_val=59; //初始化各变量
cnt_val=init_val;
show_val=cnt_val;
state_val=0;
key_val_old=255;
T1_cnt=0;
shan_val=0; //初始化51的寄存器
TMOD=0x20; //用T1计时 8位自动装载定时模式
TH1=0x19; //250微秒溢出一次; 250=(256-x)*12/11.0592 -> x= 230.4
TL1=0x19;
EA=1; //打开总中断允许
ET1=1; //开中断允许
TR1=1; //开定时器T1
while(1)
{ key_val_new=scan_key(); // 255表示无键按下
if (key_val_new!=key_val_old)
{ // 只有当前扫描的键值与上次扫描的不同,才判断是有键按下
key_val_old=key_val_new;
switch (key_val_new)
{ case 1: //设置键
state_val=1; //处于设置状态
TR1=1; //停止计时
show_val=init_val; //显示原来的倒计数初始值
break;
case 2: if(state_val==1) //只有在设置状态,增1键才有用
{ if (init_val>0) //更改原来的倒计数初始值
{init_val--; }
else
{init_val=59;}
show_val=init_val;//显示更改后的倒计数初始值
}
break;
case 3: if(state_val==1) //只有在设置状态,减1键才有用
{ if (init_val<59) //更改原来的倒计数初始值
{init_val++; }
else
{init_val=0;}
show_val=init_val; //显示更改后的计数初始值
}
break;
case 4: if(state_val!=0) //如果已处于计数模式,确认键不起作用
{ cnt_val=init_val; //将初始值赋给计数变量
show_val=cnt_val; //将计数变量的数字显示
TR1=1; //启动定时器T1
state_val=0; //将状态切换为计数模式
}
break;
}
}
led_show(show_val); //动态扫描
}
}
查看评论 回复
"基于单片机的简易定时报警器电路设计(含电路图和程序) -"的相关文章
- 上一篇:在32位微控制器中怎样移植一个开源游戏 -
- 下一篇:单片机硬件设计的经验总结 -









